浏览器大全:是一个提供流行浏览器教程、在线学习分享的学习平台!

苹果新专利单手用大屏手机这么屌

想和朋友分享您喜欢的苹果应用? 我想发上微博该是个不错的主意, 更高效的应用平台:App Store浏览太麻烦? 没法找到高质量的应用? 下载苹果应用大全 省时!省力!!省心!搜索功能强大,搜索结果优先列出限免软件和免费软件。

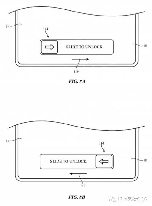
  最近从专利局中挖出的一项苹果公司的新专利专利显示:该项专利能够让智能手机知晓用户握住手机的方式,提供自动单手模式,自动将用户界面移动到用户拇指可以触摸到的地方。

自动单手模式

  此外,苹果公司表示,这项技术可以在现有iPhone硬件上实现,这意味着这种智能UI移位技术可能仅仅通过更新即可让现有用户获得。它可以监控设备的运动或角度,或者拇指在屏幕上移动情况,甚至跟踪信号性能的变化。

  这项技术可以让苹果滑动解锁界面自动适合左手或者右手来完成。

了解更多关于苹果的信息,请关注公众号

PC6果粉app∣一切与苹果有关


苹果应用引领新的上网速度革命,给您带来超快体验。



相关软件

2345加速浏览器官方版

2345加速浏览器官方版 | 56.2MB

2345加速浏览器官方版

新一代2345加速浏览器采用Chromium和IE双内核,主打极速与安全特性。基于Chromium深度定制,引入网页智能预加载技术,访问网页更快速..

QQ浏览器官方正式版

QQ浏览器官方正式版 | 49.67MB

QQ浏览器官方正式版

QQ浏览器秉承TT浏览器1-4系列方便易用的特点,但技术架构不同,交互和视觉表现也重新设计,采用Chromium内核+IE双内核,让浏览快速稳定...

百度浏览器最新版下载

百度浏览器最新版下载 | 13.3MB

百度浏览器最新版下载

q百度浏览器,是一款简洁轻快、智能懂你的浏览器。依靠百度强大的搜索平台,在满足用户浏览网页的基础上,它整合百度体系业务优势,带给用户更方便的浏览方式功能...

UC浏览器官方正式版

UC浏览器官方正式版 | 44.2MB

UC浏览器官方正式版

UC浏览器(UC Browser)是UC Mobile Limited在2004年8月开发的一款软件,分uc手机浏览器和uc浏览器电脑版。UC浏览器是全球使用量最大的第三方手机浏览器...

猎豹浏览器2022最新版下载

猎豹浏览器2022下载 | 45MB

猎豹浏览器2022最新版下载

猎豹安全浏览器对Chrome的Webkit内核进行了超过100项的技术优化,访问网页速度更快。其具有首创的智能切换引擎,动态选择内核匹配不同网页...

360安全浏览器官方版下载

360安全浏览器下载 | 21.4MB

360安全浏览器官方版下载

360安全浏览器拥有全国最大的恶意网址库,采用恶意网址拦截技术,可自动拦截挂马、欺诈、网银仿冒等恶意网址。独创沙箱技术,在隔离模式即使访问****也不会感染...